配水閘閥是閘閥中使用極為廣泛的一種,因其操作便捷、控制效果好的優點深受大家的喜愛,根據工作方式的不同,配水閘閥可以分為手動型(PZ-1型)和電動型(PZ-TT型)。這兩種類型的閘閥在啟閉件上都采用了閘板設計,其運動方向與流體方向呈垂直狀態。閘板的作用主要在于控制水流的開啟和關閉,但并不具備調節和節流的功能。在全開或全關的狀態下,閘閥能夠完全阻斷水流,保證水流的穩定性。下面由雙金配水閘閥廠家為大家帶來配水閘閥的概述與應用發展介紹。

配水閘閥是一種常用的閥門,用于控制管道中介質的流量和流向。它通常由一個圓形的閥體和可移動的閥瓣組成。當閥瓣關閉時,配水閘閥可以完全阻擋管道中的介質流動,而當閥瓣打開時,介質可以流過閥門。
配水閘閥的優點在于其結構簡單、易于操作和維修,而且密封性能較好,能夠有效地控制管道中介質的流量和流向。在需要調節介質流量的情況下,可以通過改變閥瓣的開度來實現。此外,配水閘閥還具有良好的耐腐蝕性能和較長的使用壽命,因此在許多領域中都有廣泛的應用。
在具體的應用場景中,配水閘閥可以用于控制水、氣體、液體等介質的流動,例如在給水管道、供暖系統、工業管道等領域中都有廣泛的應用。此外,特殊材質配水閘閥還可以用于控制一些具有腐蝕性的介質,例如酸、堿等化學物質。
總之,配水閘閥是一種結構簡單、操作方便、密封性能好、耐腐蝕性能強、使用壽命長的閥門。在許多領域中都有廣泛的應用,是控制管道中介質流量和流向的重要設備之一。

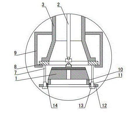
配水閘閥結構圖
為了更好地滿足各種應用場景的需求,配水閘閥的設計和制造也在不斷地發展和改進。例如,一些新型的配水閘閥采用了更加耐腐蝕的材料,提高了閥門的耐久性和可靠性。同時,一些配水閘閥還采用了智能控制技術,可以通過遠程控制或自動控制系統實現閥門的自動調節和控制,進一步提高了閥門的使用效率和安全性。總之,隨著技術的不斷進步和應用需求的不斷提高,配水閘閥將會在更多的領域中得到應用和推廣,為人們的生活和工作帶來更多的便利和安全。
除了傳統的圓形閥體外,還有一些特殊形狀的配水閘閥,如扇形閥和錐形閥。這些特殊形狀的閥門更適合于控制特定形狀的管道或需要特定流向控制的場合。此外,為了滿足各種不同的應用需求,配水閘閥的材料和工藝也在不斷改進。例如,一些高性能的合金材料和表面處理技術可以大大提高閥門的耐腐蝕性和耐磨性,使其適用于更為惡劣的環境。
隨著智能化和自動化的趨勢,一些配水閘閥已經實現了遠程控制和自動控制。通過與傳感器和執行器的配合,可以實現精確的流量控制和自動調節。這不僅提高了生產效率,也降低了人工操作的誤差和安全風險。
在未來,隨著環保意識的提高和能源消耗的限制,高效節能的配水閘閥將會受到更多的關注。例如,一些節能型的配水閘閥可以在保證密封性能的同時,減少介質的摩擦和阻力,從而降低能源的消耗。
總的來說,配水閘閥作為一種重要的流體控制設備,其應用領域將會越來越廣泛。隨著技術的進步和應用需求的提高,配水閘閥將會在材料、設計、制造和智能化方面得到更多的創新和發展,為人類的生產和生活帶來更多的便利和效益。
浙公網安備 33032402001884號
技術支持:云鼎科技