本實用新型涉及套筒閥技術領域,尤其涉及一種新型套筒閥。

背景技術:
套筒調節閥又稱籠式調節閥,其采用單座閥的閥體,在閥體內插入一個圓形套筒,根據不同需要的流量特性,在套筒上開不同形狀的孔,開孔的套筒形狀像籠,又俗稱籠式調節閥。由閥體,套筒(閥籠),閥芯,閥桿,上閥蓋,密封墊片,填料等零件組成。閥芯為圓筒式,在閥籠內上下動作,通過截通閥籠上開孔的有效面積來調節流量的大小,閥芯上設計壓力平衡孔,能夠有效消除作用在閥芯上下部分的軸向不平衡力。
目前的套筒閥在進行安裝使用時,需要對兩側的水管進行安裝固定,安裝的效率低,并且固定后的穩定性差。
技術實現要素:
本實用新型的目的是為了解決現有技術中存在套筒閥在進行安裝使用時,需要對兩側的水管進行安裝固定,安裝的效率低,并且固定后的穩定性差缺點,而提出的一種新型套筒閥。
為了實現上述目的,本實用新型采用了如下技術方案:
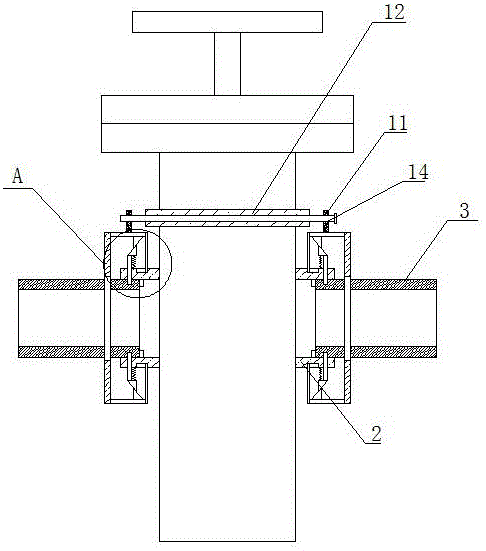
一種新型套筒閥,包括閥體,所述閥體的兩側均設置有連接管,連接管內卡裝有水管,連接管的頂部和底部均開設有滑槽,滑槽內滑動安裝有滑板,位于同一水平軸線上的兩個滑板相互遠離的一側均固定安裝有橫板,相對應的兩個橫板的同一側固定安裝有同一個側板,位于同一豎直軸線上的兩個橫板相互靠近的一側均固定安裝有第一三角板,連接管的頂部和底部均開設有密封孔,密封孔內滑動密封安裝有卡板,水管的頂部和底部均開設有卡槽,卡板與卡槽相卡裝,位于同一豎直軸線上的兩個卡板相互遠離的一側均固定安裝有第二三角板,第二三角板與第一三角板的斜面相接觸,橫板的頂部固定安裝有固定板,閥體的一側固定安裝有連板,連板上開設有轉孔,轉孔內轉動安裝有轉軸,轉軸的外側開設有兩個外螺紋,固定板上開設有螺孔,轉軸上的外螺紋與螺孔螺紋連接。
優選的,兩個轉軸上的外螺紋的旋向相反,兩個螺孔內的螺孔旋向相反。
優選的,所述轉軸的一端焊接有把手,且把手上設置有花紋,方便轉動轉軸。
優選的,所述卡槽的側壁上安裝有密封圈,且卡板與相對應密封圈的內側滑動密封接觸,保證卡板卡入卡槽內的密封性。
優選的,所述側板上開設有通孔,且水管與通孔的側壁不接觸,能夠使得側板進行移動。
優選的,位于同一豎直軸線上的兩個第二三角板相互靠近的一側均焊接有彈簧,位于同一豎直軸線上的兩個彈簧相互靠近的一端分別焊接于連接管的頂部和底部。
本實用新型中,所述一種新型套筒閥,當需要對水管進行安裝時,將水管插入到連接管中,然后轉動把手,把手帶動轉軸進行轉動,帶動兩個固定板向相互靠近的方向進行移動,固定板帶動橫板進行移動,橫板帶動滑板進行移動,橫板帶動側板進行移動,橫板帶動第一三角板進行移動,第一三角板帶動第二三角板進行移動,第二三角板帶動卡板進行移動,第二三角板擠壓彈簧,使得卡板卡入到卡槽中,能夠使得四個卡板同時卡入相對應的卡槽內。
本實用新型實用性好,能夠同時對兩個水管進行安裝固定,操作簡單,安裝效率高。
附圖說明
圖1為本實用新型提出的一種新型套筒閥的結構示意圖;
圖2為本實用新型提出的一種新型套筒閥的a部分的結構示意圖;
圖3為本實用新型提出的一種新型套筒閥的閥體與連板連接的側視結構示意圖。
圖中:1閥體、2連接管、3水管、4滑板、5橫板、6側板、7第一三角板、8卡板、9第二三角板、10彈簧、11固定板、12連板、13轉軸、14螺孔、15卡槽。
具體實施方式
下面將結合本實用新型實施例中的附圖,對本實用新型實施例中的技術方案進行清楚、完整地描述,顯然,所描述的實施例僅僅是本實用新型一部分實施例,而不是全部的實施例。
實施例一
參照圖1-3,一種新型套筒閥,包括閥體1,閥體1的兩側均設置有連接管2,連接管2內卡裝有水管3,連接管2的頂部和底部均開設有滑槽,滑槽內滑動安裝有滑板4,位于同一水平軸線上的兩個滑板4相互遠離的一側均固定安裝有橫板5,相對應的兩個橫板5的同一側固定安裝有同一個側板6,位于同一豎直軸線上的兩個橫板5相互靠近的一側均固定安裝有第一三角板7,連接管2的頂部和底部均開設有密封孔,密封孔內滑動密封安裝有卡板8,水管3的頂部和底部均開設有卡槽15,卡板8與卡槽15相卡裝,位于同一豎直軸線上的兩個卡板8相互遠離的一側均固定安裝有第二三角板9,第二三角板9與第一三角板7的斜面相接觸,橫板5的頂部固定安裝有固定板11,閥體1的一側固定安裝有連板12,連板12上開設有轉孔,轉孔內轉動安裝有轉軸13,轉軸13的外側開設有兩個外螺紋,固定板11上開設有螺孔14,轉軸13上的外螺紋與螺孔14螺紋連接。
本實用新型中,兩個轉軸13上的外螺紋的旋向相反,兩個螺孔14內的螺孔旋向相反。
本實用新型中,轉軸13的一端焊接有把手,且把手上設置有花紋。
本實用新型中,卡槽15的側壁上安裝有密封圈,且卡板8與相對應密封圈的內側滑動密封接觸。
本實用新型中,側板6上開設有通孔,且水管3與通孔的側壁不接觸。
本實用新型中,位于同一豎直軸線上的兩個第二三角板9相互靠近的一側均焊接有彈簧10,位于同一豎直軸線上的兩個彈簧10相互靠近的一端分別焊接于連接管2的頂部和底部。
實施例二
參照圖1-3,一種新型套筒閥,包括閥體1,閥體1的兩側均設置有連接管2,連接管2內卡裝有水管3,連接管2的頂部和底部均開設有滑槽,滑槽內滑動安裝有滑板4,位于同一水平軸線上的兩個滑板4相互遠離的一側均通過螺栓固定安裝有橫板5,相對應的兩個橫板5的同一側通過螺栓固定安裝有同一個側板6,位于同一豎直軸線上的兩個橫板5相互靠近的一側均通過螺栓固定安裝有第一三角板7,連接管2的頂部和底部均開設有密封孔,密封孔內滑動密封安裝有卡板8,水管3的頂部和底部均開設有卡槽15,卡板8與卡槽15相卡裝,位于同一豎直軸線上的兩個卡板8相互遠離的一側均通過螺栓固定安裝有第二三角板9,第二三角板9與第一三角板7的斜面相接觸,橫板5的頂部通過螺栓固定安裝有固定板11,閥體1的一側通過螺栓固定安裝有連板12,連板12上開設有轉孔,轉孔內轉動安裝有轉軸13,轉軸13的外側開設有兩個外螺紋,固定板11上開設有螺孔14,轉軸13上的外螺紋與螺孔14螺紋連接。
本實用新型中,兩個轉軸13上的外螺紋的旋向相反,兩個螺孔14內的螺孔旋向相反。
本實用新型中,轉軸13的一端焊接有把手,且把手上設置有花紋,方便轉動轉軸13。
本實用新型中,卡槽15的側壁上安裝有密封圈,且卡板8與相對應密封圈的內側滑動密封接觸,保證卡板8卡入卡槽15內的密封性。
本實用新型中,側板6上開設有通孔,且水管3與通孔的側壁不接觸,能夠使得側板6進行移動。
本實用新型中,位于同一豎直軸線上的兩個第二三角板9相互靠近的一側均焊接有彈簧10,位于同一豎直軸線上的兩個彈簧10相互靠近的一端分別焊接于連接管2的頂部和底部。
本實用新型中,使用中,當需要對水管3進行安裝時,將水管3插入到連接管2中,然后轉動把手,把手帶動轉軸13進行轉動,轉軸13上的外螺紋與螺孔14螺紋連接,帶動兩個固定板11向相互靠近的方向進行移動,固定板11帶動橫板5進行移動,橫板5帶動滑板4進行移動,橫板5帶動側板6進行移動,橫板5帶動第一三角板7進行移動,第一三角板7擠壓第二三角板9帶動第二三角板9進行移動,第二三角板9帶動卡板8進行移動,第二三角板9擠壓彈簧10,使得卡板8卡入到卡槽15中,能夠使得四個卡板8同時卡入相對應的卡槽15內,能夠同時對兩個水管3進行安裝固定,操作簡單,安裝效率高。
以上所述,僅為本實用新型較佳的具體實施方式,但本實用新型的保護范圍并不局限于此,任何熟悉本技術領域的技術人員在本實用新型揭露的技術范圍內,根據本實用新型的技術方案及其實用新型構思加以等同替換或改變,都應涵蓋在本實用新型的保護范圍之內。
技術特征:
1.一種新型套筒閥,包括閥體(1),其特征在于,所述閥體(1)的兩側均設置有連接管(2),連接管(2)內卡裝有水管(3),連接管(2)的頂部和底部均開設有滑槽,滑槽內滑動安裝有滑板(4),位于同一水平軸線上的兩個滑板(4)相互遠離的一側均固定安裝有橫板(5),相對應的兩個橫板(5)的同一側固定安裝有同一個側板(6),位于同一豎直軸線上的兩個橫板(5)相互靠近的一側均固定安裝有第一三角板(7),連接管(2)的頂部和底部均開設有密封孔,密封孔內滑動密封安裝有卡板(8),水管(3)的頂部和底部均開設有卡槽(15),卡板(8)與卡槽(15)相卡裝,位于同一豎直軸線上的兩個卡板(8)相互遠離的一側均固定安裝有第二三角板(9),第二三角板(9)與第一三角板(7)的斜面相接觸,橫板(5)的頂部固定安裝有固定板(11),閥體(1)的一側固定安裝有連板(12),連板(12)上開設有轉孔,轉孔內轉動安裝有轉軸(13),轉軸(13)的外側開設有兩個外螺紋,固定板(11)上開設有螺孔(14),轉軸(13)上的外螺紋與螺孔(14)螺紋連接。
2.根據權利要求1所述的一種新型套筒閥,其特征在于,兩個轉軸(13)上的外螺紋的旋向相反,兩個螺孔(14)內的螺孔旋向相反。
3.根據權利要求1所述的一種新型套筒閥,其特征在于,所述轉軸(13)的一端焊接有把手,且把手上設置有花紋。
4.根據權利要求1所述的一種新型套筒閥,其特征在于,所述卡槽(15)的側壁上安裝有密封圈,且卡板(8)與相對應密封圈的內側滑動密封接觸。
5.根據權利要求1所述的一種新型套筒閥,其特征在于,所述側板(6)上開設有通孔,且水管(3)與通孔的側壁不接觸。
6.根據權利要求1所述的一種新型套筒閥,其特征在于,位于同一豎直軸線上的兩個第二三角板(9)相互靠近的一側均焊接有彈簧(10),位于同一豎直軸線上的兩個彈簧(10)相互靠近的一端分別焊接于連接管(2)的頂部和底部。
技術總結
本實用新型屬于套筒閥領域,尤其是一種新型套筒閥,針對現有的套筒閥在進行安裝使用時,需要對兩側的水管進行安裝固定,安裝的效率低,并且固定后的穩定性差問題,現提出如下方案,其包括閥體,所述閥體的兩側均設置有連接管,連接管內卡裝有水管,連接管的頂部和底部均開設有滑槽,滑槽內滑動安裝有滑板,位于同一水平軸線上的兩個滑板相互遠離的一側均固定安裝有橫板,相對應的兩個橫板的同一側固定安裝有同一個側板,位于同一豎直軸線上的兩個橫板相互靠近的一側均固定安裝有第一三角板,連接管的頂部和底部均開設有密封孔。本實用新型實用性好,能夠同時對兩個水管進行安裝固定,操作簡單,安裝效率高。
浙公網安備 33032402001884號
技術支持:云鼎科技